伴随罕见病目录面世、2022国谈加速罕见病药准入等系列政策的出台,我国罕见病药物的研发与生产日趋火热。据米内网统计,2022年共有14款罕见病药获批上市,包括人福药业的罕见难治性癫痫药氯巴占片、豪森药业的遗传性血管性水肿治疗药醋酸艾替班特注射液等;7款罕见病药纳入新版医保目录,多款单价过万元产品位列其中;11款罕见病新药进入报产在审阶段,冲刺上市指日可待。
激励政策层出不穷,罕见病药市场迈向千亿时代
日前,国家卫健委发布一份针对《关于加大对罕见病诊治投入力度的建议》的答复。其中提及,国家卫健委将继续推进罕见病目录制订工作程序,适时调整更新第二批罕见病目录。此外,中华医学会拟成立首个国家级罕见病权威医学组织,即中华医学会罕见病分会。
来源:国家卫健委官网
事实上,国家为鼓励药企加大对罕见病药的研发和生产,近年来相继出台了一系列鼓励政策。
2018年5月,国家卫健委、工业和信息化部、国家药监局等五部门联合发布《第一批罕见病目录》,共涉及121种罕见病(文末附病种目录),为各部门制定罕见病相关政策提供重要依据。2022年11月,中国罕见病联盟召开2022年中国罕见病大会称,2022年国家医保药品目录调整,对罕见病用药开通单独申报渠道,支持其优先进入医保药品目录......
近十年国家发布的部分鼓励罕见病药研发和生产的相关政策


来源:国家卫健委、国家药监局等,米内网整理
统计数据显示,罕见病在人群中的患病率大约在3.5%-5.9%,虽然84.5%的病种患病率不足百万分之一,但是中国罕见病患者总数已有约2000万人,并以每年新增超过20万患者的速度增长。鉴于我国庞大的人口基数,相对于其他国家和地区,很多罕见病在我国已经变得“不罕见”。
在临床用药需求推动下,罕见病药物市场持续升温。有业内专业机构指出,中国罕见病药市场于2016年及2020年分别占全球罕见病市场的0.4%及1%,预计2030年将激增至259亿美元,约合1755亿元(按实时汇率换算,下同)。
14款罕见病药诞生,7大品种加速进保
伴随利好政策和临床需求的双轮驱动,越来越多药企积极投身到罕见病药的研发当中。据统计,目前我国有70多款罕见病药获批上市,其中有14款于2022年登场亮相,包括人福药业的罕见难治性癫痫药氯巴占片、豪森药业的遗传性血管性水肿治疗药醋酸艾替班特注射液、兆科药业的肌萎缩侧索硬化治疗药利鲁唑口服混悬液及特发性肺动脉高压治疗药吸入用一氧化氮等。
2022年中国获批上市的罕见病药

来源:米内网中国申报进度(MED)数据库
此外,60多款罕见病药已通过谈判纳入国家医保目录。值得注意的是,2022医保目录调整中明显加大了对罕见病药的关注,最终有7款药物成功纳入,包括兆科药业的肺动脉高压治疗药曲前列尼尔注射液、豪森药业用于治疗视神经脊髓炎的伊奈利珠单抗注射液、诺华用于复发型多发性硬化的奥法妥木单抗注射液、罗氏用于脊髓型萎缩症的利司扑兰口服溶液用散等。
新增进入2022医保目录的罕见病药

来源:国家医保局,米内网整理
米内网数据显示,近年来曲前列尼尔注射液在中国城市公立医院、县级公立医院、城市社区中心以及乡镇卫生院(简称中国公立医疗机构)终端销售额增速惊人,2021年同比增长186.89%,顺利进入医保后将进一步放量。
近年来中国公立医疗机构终端曲前列尼尔注射液销售趋势(单位:万元)

来源:米内网中国公立医疗机构药品终端竞争格局
豪森药业引进的伊奈利珠单抗注射液是国内首款、也是目前唯一一款获批上市的CD19单抗,用于视神经脊髓炎谱系疾病成人患者的治疗,为该适应症首个纳入国家医保的药品;罗氏的利司扑兰口服溶液用散适用于脊髓性肌萎缩症(SMA),是首个在中国获批治疗SMA的口服疾病修正治疗药;诺华的奥法妥木单抗注射液属于抗人CD20的全人源免疫球蛋白G1单抗,用于治疗复发型多发性硬化。
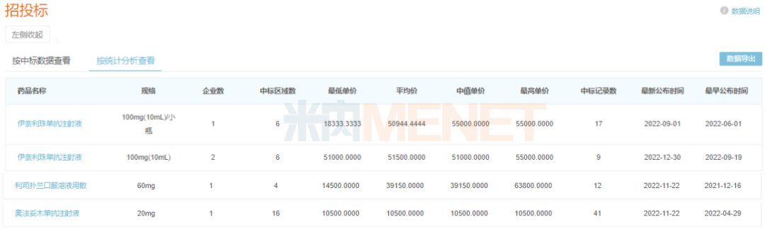
米内网数据显示,上述3款产品进医保前在国内的最低单价均超过1万元,通过谈判降价进入医保,不仅填补了这些罕见病药的市场空白,更能大幅提高患者的用药可及性。
部分罕见病药进保前国内中标价格(单位:元)

来源:米内网招投标数据库
11款罕见病新药有望登场,再鼎、武田、罗氏.......火力全开
罕见病药进保提速,为产品放量、新药研发注入了一剂“强心针”。2023年伊始,又有哪些备受关注的罕见病新药登场亮相?笔者结合公开资料及CDE受理情况,筛选出11款有望于今年获批上市的罕见病新药。
2023年有望获批上市的罕见病新药

注:带*为纳入优先审评
来源:米内网中国申报进度(MED)数据库
艾加莫德α注射液是argenx开发的一款靶向FcRn的抗体片段,再鼎医药拥有该药在大中华区的独家开发和商业化权利。2022年7月,该药的新药上市申请(JXSS2200022)获CDE受理,用于治疗全身型重症肌无力患者。
根据再鼎医药新闻稿介绍,艾加莫德α注射液是首个在美国和日本获批用于成人全身型重症肌无力治疗的FcRn拮抗剂,并已成功落地我国海南博鳌乐城国际医疗旅游先行区。2022年6月,海南省人民医院乐城分院在国内开出该药首个处方,预示着三十年来我国重症肌无力药物即将开启的新突破。
来源:海南省人民医院官微
武田有2款罕见病新药有望在今年获批上市,其中,注射用Susoctocog alfa属于重组抗血友病因子(猪序列),它与人序列凝血因子Ⅷ结构相似、序列同源,且不易受到抗人FⅧ自身抗体的灭活,可以替代人FⅧ发挥明显的止血作用。
据悉,注射用Susoctocog alfa是首个获得美国FDA及欧洲EMA批准用于获得性血友病的重组猪FⅧ药物。2022年6月,该药的上市申请(JXSS2200020)获CDE受理,随后被纳入优先审评,拟用于获得性血友病A成人患者按需治疗和出血事件的控制。
来源:CDE官网
注射用重组替度鲁肽是一款人胰高血糖素样肽2(GLP-2)类似物,通过增加小肠绒毛的长度和隐窝的深度来提高肠道的吸收能力。目前,该药已分别被美国、欧盟、日本等国家作为孤儿药获批,用于罕见病成人/儿童短肠综合征的治疗。米内网数据显示,武田的注射用重组替度鲁肽2021年全球销售额757亿日元(约合5.7亿美元),同比增长17%,产品潜力可期。
注射用重组替度鲁肽全球销售情况

来源:米内网跨国上市公司数据库
珂罗利单抗注射液是罗氏在研的一种C5补体抑制剂,可以阻断补体C5裂解为C5a和C5b,抑制补体活化。此前,该药拟用于治疗阵发性睡眠性血红蛋白尿症(PNH)的适应症已在中国被纳入突破性治疗品种和优先审评。
除针对PNH适应症在中国申报上市外,珂罗利单抗该适应症在全球近20个国家及地区均已进入Ⅲ期临床,包括美国、欧洲、日本、澳大利亚等。从研发进度看,该药有望成为罗氏史上首个以中国作为全球首发的创新药。
珂罗利单抗PNH适应症全球研发进度(Ⅲ期临床及以上)

来源:米内网全球药物研发数据库
注射用艾夫糖苷酶α是赛诺菲开发的第二代酶替代疗法,能够特异性靶向细胞摄取的关键途径甘露糖-6-磷酸(M6P)受体。2021年6月,该药获FDA批准上市,用于治疗1岁及以上的晚发性庞贝病患者。2022年7月,注射用艾夫糖苷酶α的上市申请(JXSS2200029)获CDE受理,随后被纳入优先审评,拟用于庞贝病患者的长期酶替代治疗。
注射用艾夫糖苷酶α项目进度

来源:米内网项目进度数据库
庞贝病是由溶酶体中的酸性α-葡萄糖苷酶(GAA)的遗传缺陷或功能障碍引起的一种疾病,已被纳入中国《第一批罕见病目录》。据此前赛诺菲披露的一项头对头Ⅲ期COMET研究显示,注射用艾夫糖苷酶α可显著提高庞贝病患者步行距离及改善其呼吸功能指标。
第一批罕见病目录




来源:米内网数据库、国家卫健委、国家医保局等
注:米内网《中国公立医疗机构药品终端竞争格局》,统计范围是:中国城市公立医院、县级公立医院、城市社区中心以及乡镇卫生院,不含民营医院、私人诊所、村卫生室;上述销售额以产品在终端的平均零售价计算。数据统计截至2月24日,如有疏漏,欢迎指正!
