近年来,中国医疗器械市场持续增长,2023年产业规模已达1.3万亿元。但与此同时,政策调整(如“两票制”“集采”)、竞争加剧(全国超4万家生产企业)和渠道碎片化(全国超150万家经销商)让厂商面临着巨大挑战。如何在庞杂的经销商群体中快速锁定优质资源,成为企业抢占市场的关键。
对于经销商拓展开发,目前医疗器械厂家最普遍使用的方式无外乎以下几种:
1.行业展会:通过展台展示产品技术实力,快速建立品牌认知,吸引潜在合作伙伴关注。大型行业展会往往汇聚了大量行业厂商与经销商,可直接触达目标客户群体,面对面洽谈效率高。不过每场展会展位费、差旅费、物料制作等综合成本少则几万,多则几十万上百万不等,中小企业难以长期负担。
2.学术活动:很多学术会议伴随着行业展会同期开展,当然也有单独开展的,主要聚焦行业趋势与资源对接。形式有线下会议、线上直播、也有线上线下相结合的。这些活动严重依赖参会/听众人群质量,与主办方或承办方的办会能力及运营能力密切相关。
3.人脉介绍:通过行业大腕、终端临床客户、卫健委基建科采购办、朋友等介绍,前提是得有相关不错的资源。
4.中标数据:对于一些做政府采购的,基于所公布的真实招投标数据,可以更加精准找到所需经销商。这也是目前最为精准、高效、成本方式之一,且适用于大中小所有医疗器械厂家。
接下来笔者就从经销商筛选→评估→触达全流程详细介绍如何通过医疗器械招投标数据精准挖掘医疗器械经销商。
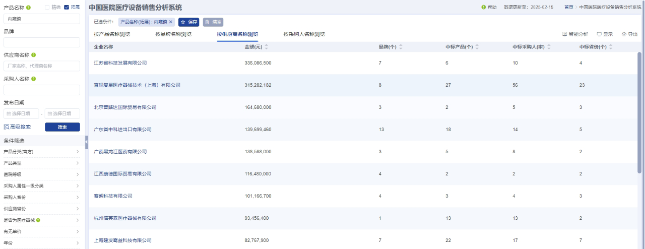
一、筛选经销商
1、按产品搜索经销商:
通过药智医械数据的中国医疗设备销售分析系统,按供应商名称浏览,可以通过产品名称、品牌名称等进行检索,筛选出目标产品或品牌有哪些经销商。比如查询“内窥镜”,数据库会直接呈现目标时间段内有中标记录的所有经销商。

图片来源:药智医械数据
2、按采购人搜索经销商:
如果想了解部分重点医院的合作经销商有哪些,也可以按采购人进行搜索,如果需要搜索的医院有多个,还可以使用高级搜索进行多个医院一次性搜索。如某厂家希望寻找北京大学第三医院以及北京大学人民医院的合作经销商,可以使用高级搜索功能添加搜索条件并输入相关医院名称,根据需求选择交集、并集、排除的逻辑关系进行检索,得到所需经销商信息。

图片来源:药智医械数据
3、其他条件及组合筛选经销商:
除按产品名称、品牌名称、采购人搜索外,还可以通过产品分类(官方注册分类)、产品类型(设备、耗材、医用软件等)、医院等级、采购人省份、供应商省份、年份等条件进行组合筛选,以便获得更加精准的目标市场经销商信息。比如内窥镜厂家区域经理要寻找近3年在川渝地区销售过内窥镜的经销商,可以直接使用高级搜索功能进行产品名称、采购省份、年份组合检索,展现出来的结果就是近三年在川渝地区中标过内窥镜的经销商。

图片来源:药智医械数据
二、评估经销商
通过行业展会、学术活动、人脉介绍或是中标数据筛选等任何渠道获取到的经销商,都应对其资源和实力进行有效评估。当然,并非必须找到当地最大最有实力的经销商,适合的才是最好的,对于中小型企业而言更是如此。
在进行评估的时候可着重分析经销商以下几个方面:
1、业务匹配度:从经销商的产品线或科室,分析经销商是否具备相关经验,同时也可以初步判断其已有产品和自家产品间是否能互补。
2、区域覆盖能力:分析经销商的业务覆盖区域,特别关注其在目标省份的医院渗透率,避免选择“大而不专”的经销商。
3、合作意愿与稳定性:关注经销商代理了哪些品牌,对于中小型厂家而言可优先选择代理品牌较少、团队规模适中的经销商,其投入度和配合度更高。
通过药智医械数据中国医疗设备销售分析系统可以对经销商的业务覆盖地区、代理产品及品牌、医院资源、过往业绩、增长趋势、市场占比等多维度全面透视。企业可结合自身发展情况选择更适合自己的候选经销商开展下一步对接与洽谈工作。




图片来源:药智医械数据
三、触达经销商
经过详细的评估后,企业已筛选出部分较为适合自身的候选经销商,接下来就是通过各种途径触达他们了。药智医械数据可从多方面提供服务帮助用户高效触达代理商,促进合作。
1、通过药智医械数据从数据库内找到部分企业联系方式进行联系沟通。
2、将需求告知客服经理,通过药智网内部伙伴库帮助企业联系触达部分经销商。
3、药智医械数据可为企业提供线上及线下招商宣传服务。
