近期,集采消息频传:江苏第四批集采开标,合计57个品种拟中选;安徽将启动28个中成药带量联采;福建拟开展第四批药品集采,涉及50个化学药和44个中成药,不乏多柔比星脂质体注射剂、拉贝洛尔口服常释剂型等2022年在福建省公立医院终端销售额增速超三位数的潜力品种,以及复方丹参滴丸、麝香保心丸剂等独家中成药(含剂型独家,下同)。第九批集采完满落幕,新一批国采已在路上,至少78个品种满足5家及以上的企业竞争格局,其中10个品种竞争激烈,满足条件企业数达10家及以上,正大制药、扬子江药业、齐鲁制药等领跑。
集采规则再优化,区分A/B组、曾/未曾中选组竞价
10月底,福建省药械联合采购中心发布《福建省第四批药品集中带量采购公告(第1号)》,标志着本省第四批药品集采正式启动。本次集采区分化学药和中成药分别制定采购文件,涉及50个化学药品种、24组共44个中成药品种。
化学药部分,集采规则与此前第三批基本保持一致:①同通用名品种根据相关资质分为A、B两组;②报价需≤本企业同通用名品种、同剂型、同竞价分组产品的现行全国最低省级集中采购价及带量采购中选、备供(选)价格;③区分A、B组分别竞价,同组企业数≥3家的报价最低拟中选且获量100%,同组企业数≤2家的组内报价最低且满足相应降幅条件的拟中选,并根据降幅获量100%/50%;④新增备供企业,启动备供机制时挂网价需满足一定要求......
化学药中选产品首年约定采购量

中成药部分,核心思想为“与全国最低采购价对比,价格就低不就高”,具体规则包括:①企业报价需≤本企业同通用名、同剂型产品的现行全国最低省级集中采购价及带量采购中选、备供(选)价格,且需≤本企业同通用名品种福建省现行最高销售限价;②区分曾中选、未曾中选产品,满足一定价格要求即可拟中选;③分量上,根据降幅确定对应的获得基础量和调出分配量,待分配量由医疗机构在降幅≥20%的中选产品中自主分配......
中成药中选产品首年约定采购量

总体而言,福建已进行了三批化学药省级集采,规则上已比较成熟,第四批相较此前的三批,在现行全国最低省级集中采购价方面新增了“同竞价分组产品”的限定,力求保证中选产品价格为全国最低价。而中成药方面,不同于化学药较为严格的组内独家中选情况,其中选规则相对宽松,区分曾中选、未曾中选产品,报价满足一定的价格要求即可中选,无中选数量的限制。
3亿市场格局重塑,石药、科伦、华润备战
此次福建省集采拟纳入94个品种,从治疗大类上看,以心脑血管疾病用药、消化系统及代谢药、呼吸系统用药、全身用抗感染药物及血液和造血系统药物为主,分别占据11、9、8、6、5个席位。
化学药方面,均为临床用量较大、采购金额较高、竞争充分、院内使用成熟的品种。从剂型分类上看,有16个注射剂拟纳入,占比超过三成。
拟纳入福建省第四批集采化学药目录


注:带*为独家品种,非基药、非医保药均用“-”表示
来源:福建省药械联合采购中心,米内网整理
50个化学药中,2022年在福建省公立医院终端销售额增速超三位数的品种不计其数,既有丙卡特罗颗粒剂等独家慢阻肺治疗药,也有多柔比星脂质体注射剂等高端制剂,亦有拉贝洛尔口服常释剂型等同为基药和医保药品种......
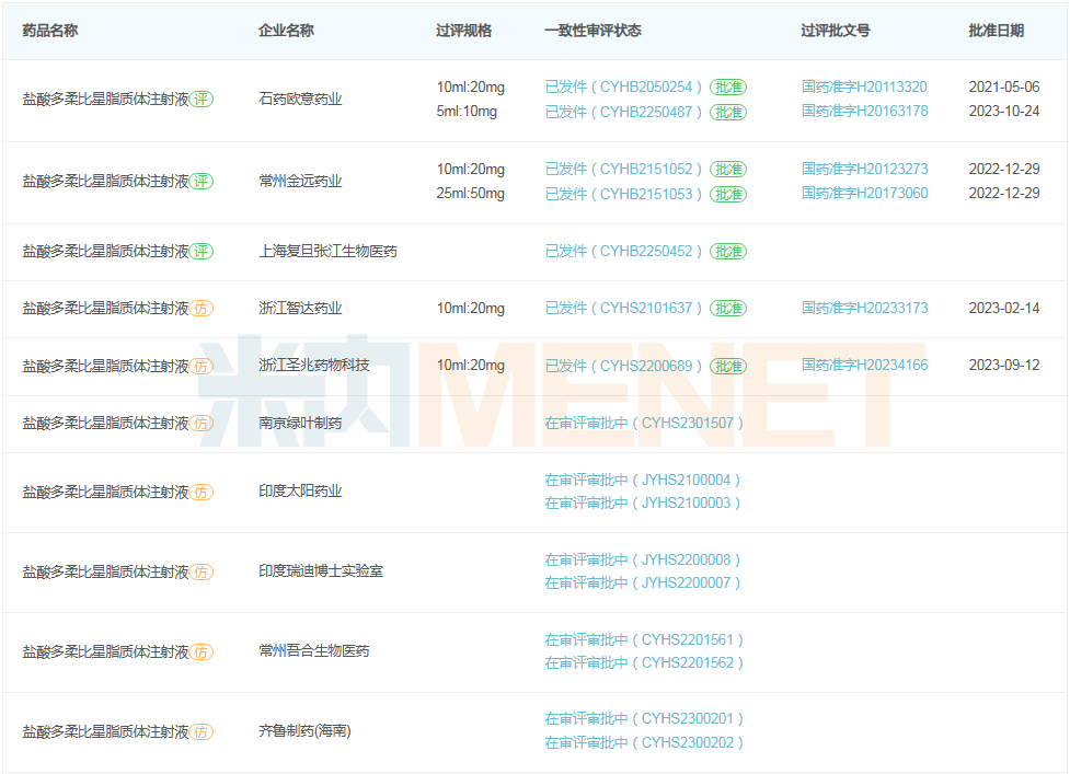
多柔比星脂质体注射剂属于抗肿瘤抗生素类药,常用于多发性骨髓瘤、淋巴瘤、卵巢癌、乳腺癌的化疗。由于工艺壁垒高、研发投入大、临床成功率低,米内网数据显示,该药目前仅石药集团、金远药业、圣兆药物、智达药业、上海复旦张江生物通过/视同通过了一致性评价,另有齐鲁制药、绿叶制药、印度瑞迪博士等5家企业以新注册分类报产在审。在2022年福建省公立医院终端,盐酸多柔比星脂质体注射液销售额超1300万元,同比增长460%,市场潜力不容小觑。
盐酸多柔比星脂质体注射液一致性评价进度

来源:米内网一致性评价进度数据库
拉贝洛尔口服常释剂型是临床常用心血管药物,适用于治疗轻度至重度高血压和心绞痛,为国家基药及全国医保目录乙类药。近年来,该药在福建省公立医院终端销售额保持稳定增长,2022-2023H1同比增幅分别达196%和147%。科伦药业、广药集团、华润医药、创诺医药等8家企业拥有该药生产批文,竞争格局充分,若该产品最终纳入集采,或免不了一场激烈的价格“厮杀战”。
福建省公立医院终端拉贝洛尔口服常释剂型销售趋势(单位:万元)

来源:米内网重点省市公立医院药品终端竞争格局
米内网数据显示,在重点省市公立医院终端,福建省2020-2022年销售额均在80亿元以上,2023年上半年突破46亿元。本轮集采拟纳入的50个化学药,2022年在其公立医院终端的合计销售额超过3亿元。
中成药方面,独家品种为主力军,有32个品种在列,不乏复方丹参滴丸、麝香保心丸剂、苏黄止咳胶囊剂等2022年在中国城市公立医院、县级公立医院、城市社区中心及乡镇卫生院(简称中国公立医疗机构)终端销售额均超20亿元的大品种。
拟纳入福建省第四批集采中成药目录

注:带*为独家品种,非基药、非医保药均用“-”表示
来源:福建省药械联合采购中心,米内网整理
44个中成药中,复方血栓通口服剂型和心可舒口服剂型各有5个品种准入,是拟纳入品种数最多的2个采购组别;脑安口服剂型(4个)、连花清瘟口服剂型(3个)、华蟾素口服剂型(3个)等采购组别则位居其后。
从组别上看,有5个为此前湖北牵头的全国中成药集采组别,分别是华蟾素口服剂型、复方血栓通口服剂型、脉管复康口服剂型、脑安口服剂型以及心可舒口服剂型。不难发现,省采/省联采将成为国采后,市场资源再分配的“接棒者”,进一步保障药品的稳定供应和临床使用。
第十批国采在路上,78个品种蓄势待发
11月6日,第九批国采在上海顺利开标,有41种药品采购成功,拟中选药品平均降价58%。其中,包括雷贝拉唑口服常释剂型、艾司奥美拉唑镁肠溶干混悬剂、吡拉西坦注射剂3款国家重点监控药品,以及胺碘酮注射剂、多巴胺注射剂、缩宫素注射剂等5款短缺药和急抢救药,多款拟中选药品采购周期长达四年......按约定采购量测算,预计第九批国采每年可节省182亿元。
按照一年两批次的步伐,及以往时间线推测,新一批国采有望在明年1月启动,开标时间或定在2024年4月左右。至于纳入品种种类尚未有最新定论,化学药、生物药甚至中成药都有可能。
就目前情况看,化学药的竞争比较充分。截至11月10日,在未纳入国采的品种中至少有78个品种满足原研企业+过评企业≥5家的竞争格局,初步具备纳入国采的条件。注射剂仍占据主导,不乏舒更葡糖钠注射液、拉考沙胺注射液、注射用右雷佐生、注射用哌拉西林钠、注射用福沙匹坦双葡甲胺等热门品种,涵盖神经系统药物、抗肿瘤和免疫调节剂、全身用抗感染药物、消化系统及代谢药等多个治疗大类。
米内网数据显示,上述78个品种2022年在中国公立医疗机构终端销售额合计超过460亿元,其中10个品种竞争激烈,参与竞争企业数(以集团计,同个品种同个集团下多个子公司过评的视为1家)达10家及以上。
78个品种中,涉及过评品种数达10个及以上的国内企业(按集团计)有6家,包括正大制药、扬子江药业、齐鲁制药、科伦药业、石药集团、倍特药业等国内知名大药企。
来源:米内网数据库、福建省药械联合采购中心等
注:米内网《中国公立医疗机构药品终端竞争格局》,统计范围是:中国城市公立医院、县级公立医院、城市社区中心以及乡镇卫生院,不含民营医院、私人诊所、村卫生室;米内网重点省市公立医院化学药终端竞争格局数据库是以20+省市,近700家样本省市公立医院的化学药采购数据为基础,对化学药全品类进行连续监测的样本省市样本医院数据库;上述销售额以产品在终端的平均零售价计算。数据统计截至11月10日,如有疏漏,欢迎指正!
